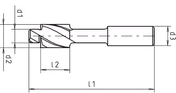
Engineering Data Sheets
Counterbore Dimensions for ISO 4762 Screws
(Counterborer with straight shank and fixed pilot - DIN 373)- d
- Metric Thread
- d1
- Clearance Hole Diameter (mm)
- d2
- Counterbore Diameter (mm)
- t
- Counterbore Depth (mm)
| d | d1 | d2 | t |
|---|---|---|---|
| M3 | 3.4 (3.2) | 6.0 | 3.3 |
| M4 | 4.5 (4.3) | 8.0 | 4.4 |
| M5 | 5.5 (5.3) | 10.0 | 5.4 |
| M6 | 6.6 (6.4) | 11.0 | 6.4 |
| M8 | 9.0 (8.4) | 15.0 | 8.4 |
| M10 | 11.0 (10.5) | 18.0 | 10.4 |
| M12 | 13.5 (13.0) | 20.0 | 12.4 |
| M14 | 15.5 (15.0) | 24.0 | 14.4 |
| M16 | 17.5 (17.0) | 26.0 | 16.4 |
| M18 | 20.0 (19.0) | 30.0 | 18.5 |
| M20 | 22.0 (22.0) | 33.0 | 20.5 |
| M24 | 26.0 (25.0) | 40.0 | 24.6 |
| M27 | 30.0 (28.0) | 45.0 | 27.6 |
| M30 | 33.0 (31.0) | 50.0 | 30.6 |
| M36 | 39.0 (37.0) | 60.0 | 36.7 |
DIN 981 KM Lock Nut Dimensions
- KM
- Lock Nut Code
- d1
- Metric Thread Size
- d2
- Outer Diameter (mm)
- h
- Height (mm)
| KM | d1 | d2 | h |
|---|---|---|---|
| KM0 | M10 x 0.75 | 18 | 4 |
| KM1 | M12 x 1 | 22 | 4 |
| KM2 | M15 x 1 | 25 | 5 |
| KM3 | M17 x 1 | 28 | 5 |
| KM4 | M20 x 1 | 32 | 6 |
| KM5 | M25 x 1.5 | 38 | 7 |
| KM6 | M30 x 1.5 | 45 | 7 |
| KM7 | M35 x 1.5 | 52 | 8 |
| KM8 | M40 x 1.5 | 58 | 9 |
| KM9 | M45 x 1.5 | 65 | 10 |
| KM10 | M50 x 1.5 | 70 | 11 |
| KM11 | M55 x 2 | 75 | 11 |
| KM12 | M60 x 2 | 80 | 11 |
| KM13 | M65 x 2 | 85 | 12 |
| KM14 | M70 x 2 | 92 | 12 |
| KM15 | M75 x 2 | 98 | 13 |
| KM16 | M80 x 2 | 105 | 15 |
| KM17 | M85 x 2 | 110 | 16 |
| KM18 | M90 x 2 | 120 | 16 |
| KM19 | M95 x 2 | 125 | 17 |
| KM20 | M100 x 2 | 130 | 18 |
| KM21 | M105 x 2 | 140 | 18 |
| KM22 | M110 x 2 | 145 | 19 |
| KM23 | M115 x 2 | 150 | 19 |
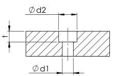
DIN 5406 MB Lock Washer Mounting Dimensions
- MB
- Lock Washer Code
- d1
- Inner Diameter (mm)
- w
- Width H11 (mm)
- t
- Thickness (mm)
- s
- Slot Width (mm)
- d2
- Outer Diameter (mm)
| MB | d1 | w H11 | t | s | d2 |
|---|---|---|---|---|---|
| MB0 | 10 | 4 | 2 | 1 | 21 |
| MB1 | 12 | 4 | 2 | 1 | 25 |
| MB2 | 15 | 5 | 2 | 1 | 28 |
| MB3 | 17 | 5 | 2 | 1 | 32 |
| MB4 | 20 | 5 | 2 | 1 | 36 |
| MB5 | 25 | 6 | 3 | 1.2 | 42 |
| MB6 | 30 | 6 | 4 | 1.2 | 49 |
| MB7 | 35 | 7 | 4 | 1.2 | 57 |
| MB8 | 40 | 7 | 4 | 1.2 | 62 |
| MB9 | 45 | 7 | 4 | 1.2 | 69 |
| MB10 | 50 | 7 | 4 | 1.2 | 74 |
| MB11 | 55 | 9 | 4 | 1.5 | 81 |
| MB12 | 60 | 9 | 4 | 1.5 | 86 |
| MB13 | 65 | 9 | 4 | 1.5 | 92 |
| MB14 | 70 | 9 | 5 | 1.5 | 98 |
| MB15 | 75 | 9 | 5 | 1.5 | 104 |
| MB16 | 80 | 11 | 5 | 1.7 | 112 |
| MB17 | 85 | 11 | 5 | 1.7 | 119 |
| MB18 | 90 | 11 | 5 | 1.7 | 126 |
| MB19 | 95 | 11 | 5 | 1.7 | 133 |
| MB20 | 100 | 14 | 6 | 1.7 | 142 |
| MB21 | 105 | 14 | 6 | 1.7 | 145 |
| MB22 | 110 | 14 | 6 | 1.7 | 154 |
| MB23 | 115 | 14 | 6 | 2 | 159 |
DIN 71412 Grease Nipple Types
| Type and Size | Description as per Standard |
|---|---|
| DIN 71412 A M5x0.8 | Straight (180°) Conical Head |
| DIN 71412 A M6x1.0 | Straight (180°) Conical Head |
| DIN 71412 A M8x1.0 | Straight (180°) Conical Head |
| DIN 71412 A M10x1.0 | Straight (180°) Conical Head |
| DIN 71412 A R(G) 1/8" | Straight (180°) Conical Head |
| DIN 71412 A R(G) 1/4" | Straight (180°) Conical Head |
| DIN 71412 B M6x1.0 | 45° Angled Conical Head |
| DIN 71412 B M8x1.0 | 45° Angled Conical Head |
| DIN 71412 B M10x1.0 | 45° Angled Conical Head |
| DIN 71412 B R(G) 1/8" | 45° Angled Conical Head |
| DIN 71412 C M6x1.0 | 90° Angled Conical Head |
| DIN 71412 C M8x1.0 | 90° Angled Conical Head |
| DIN 71412 C M10x1.0 | 90° Angled Conical Head |
| DIN 71412 C R(G) 1/8" | 90° Angled Conical Head |
| DIN 71412 C R(G) 1/4" | 90° Angled Conical Head |
Motor Rating vs. Shaft Size (1400 - 1500 RPM)
| Motor (kW) | Motor (HP) | Shaft Size (mm) | Keyway (mm) |
|---|---|---|---|
| 1.1 | 1.5 | 24 | 8 |
| 1.5 | 2 | 24 | 8 |
| 2.2 | 3 | 28 | 8 |
| 3.7 | 5 | 28 | 8 |
| 5.5 | 7.5 | 38 | 10 |
| 7.5 | 10 | 38 | 10 |
| 9.3 | 12.5 | 42 | 12 |
| 11 | 15 | 42 | 12 |
| 15 | 20 | 42 | 12 |
| 18.5 | 25 | 48 | 14 |
| 22 | 30 | 48 | 14 |
| 30 | 40 | 55 | 16 |
| 37 | 50 | 60 | 18 |
| 45 | 60 | 60 | 18 |
| 55 | 75 | 65 | 18 |
| 75 | 100 | 75 | 22 |
See also 🔗
Related standards and tools you might find useful: